1

Считывание данных с панели ППУ (токовая петля)

(edited by voroges 14/03/2017 22:04:57)

Topic: Считывание данных с панели ППУ (токовая петля)

ППУ - это Передвижная парогенераторная установка.

Вопрос заключается в следующем:

Как считать данные с информационной панели ( индикаторы типа Овен ИТП 11.3Л. ), а именно давление и температура пара. С датчиков на индикаторы поступает сигнал типа токовая петля . В идеале сигнал с данными коннектить к аналоговому входу.

Попробовали эту идею (фото во вложении), с соединением "+" и "-" с токовой петли - получилось что подсоединении "-" к "-" токовой петли перестают корректно отображать данные индикаторы.

Возможно, есть другие варианты?!

  • Считывание данных с панели ППУ (токовая петля)
Работа стоит ровно столько, за сколько ее готов отнять у тебя конкурент.

ООО "Смарт-сервис"
+7(906)346-47-00 (icq: 163 63 5, skype: smrservice)
2

Считывание данных с панели ППУ (токовая петля)

Re: Считывание данных с панели ППУ (токовая петля)

Может, подобный конвертер упростит задачу?
https://ru.aliexpress.com/item/Current- … 14815.html

3

Считывание данных с панели ППУ (токовая петля)

Re: Считывание данных с панели ППУ (токовая петля)

voroges wrote:

получилось что подсоединении "-" к "-" токовой петли перестают корректно отображать данные индикаторы.

Попробуйте развязать питание терминала и источника сигнала. Чтобы общего минуса у них не было.

4

Считывание данных с панели ППУ (токовая петля)

Re: Считывание данных с панели ППУ (токовая петля)

BoolAB wrote:

Попробуйте развязать питание терминала и источника сигнала. Чтобы общего минуса у них не было.

вы имеете ввиду минус брать не с минуса токовой петли? например, с корпуса? Нет, это не помогает.

Работа стоит ровно столько, за сколько ее готов отнять у тебя конкурент.

ООО "Смарт-сервис"
+7(906)346-47-00 (icq: 163 63 5, skype: smrservice)
5

Считывание данных с панели ППУ (токовая петля)

Re: Считывание данных с панели ППУ (токовая петля)

AL wrote:

Может, подобный конвертер упростит задачу?
https://ru.aliexpress.com/item/Current- … 14815.html

Спасибо. Буду заказывать, а по приходу соберём, посмотрим как будет работать)

Работа стоит ровно столько, за сколько ее готов отнять у тебя конкурент.

ООО "Смарт-сервис"
+7(906)346-47-00 (icq: 163 63 5, skype: smrservice)
6

Считывание данных с панели ППУ (токовая петля)

Re: Считывание данных с панели ППУ (токовая петля)

voroges wrote:
AL wrote:

Может, подобный конвертер упростит задачу?
https://ru.aliexpress.com/item/Current- … 14815.html

Спасибо. Буду заказывать, а по приходу соберём, посмотрим как будет работать)

Удачи!

7

Считывание данных с панели ППУ (токовая петля)

Re: Считывание данных с панели ППУ (токовая петля)

Очень древний прибор попался вам. Токовая петля- это передача 1-0 еще до 232 и тем более до 485. Но очень похоже на 232: 8 бит, без паритета, 1 стоп-бит. Приручите, дайте знать.

S&M Groups
8

Считывание данных с панели ППУ (токовая петля)

(edited by voroges 17/03/2017 09:12:10)

Re: Считывание данных с панели ППУ (токовая петля)

имеете ввиду индикаторы типа Овен ИТП 11.3Л

babay wrote:

Приручите, дайте знать.

ок)

Работа стоит ровно столько, за сколько ее готов отнять у тебя конкурент.

ООО "Смарт-сервис"
+7(906)346-47-00 (icq: 163 63 5, skype: smrservice)
9

Считывание данных с панели ППУ (токовая петля)

Re: Считывание данных с панели ППУ (токовая петля)

AL wrote:

Может, подобный конвертер упростит задачу?
https://ru.aliexpress.com/item/Current- … 14815.html

пришли платки) в скором будем подключать!

Считывание данных с панели ППУ (токовая петля)

Работа стоит ровно столько, за сколько ее готов отнять у тебя конкурент.

ООО "Смарт-сервис"
+7(906)346-47-00 (icq: 163 63 5, skype: smrservice)
10

Считывание данных с панели ППУ (токовая петля)

Re: Считывание данных с панели ППУ (токовая петля)

пришли платки) в скором будем подключать!


Удачи!!!

11

Считывание данных с панели ППУ (токовая петля)

Re: Считывание данных с панели ППУ (токовая петля)

voroges wrote:
AL wrote:

Может, подобный конвертер упростит задачу?
https://ru.aliexpress.com/item/Current- … 14815.html

пришли платки) в скором будем подключать!

Ну как, получилось?

12

Считывание данных с панели ППУ (токовая петля)

Re: Считывание данных с панели ППУ (токовая петля)

сообщение.

13

Считывание данных с панели ППУ (токовая петля)

Re: Считывание данных с панели ППУ (токовая петля)

резистор 100 ом последовательно токовой петли с его концов снимаем напряжение при резисторе 100 ом будет 0-5вольт, питание гальванически развязать и все.

любую, даже самую простую задачу - можно сделать не выполнимой, проведя достаточное количество совещаний.
14

Считывание данных с панели ППУ (токовая петля)

Re: Считывание данных с панели ППУ (токовая петля)

babay wrote:

Очень древний прибор попался вам. Токовая петля- это передача 1-0 еще до 232 и тем более до 485. Но очень похоже на 232: 8 бит, без паритета, 1 стоп-бит. Приручите, дайте знать.


МАТЧАСТЬ УЧИТЕ токовая петля это аналоговый унифицированный сигнал 4-20 ма.

любую, даже самую простую задачу - можно сделать не выполнимой, проведя достаточное количество совещаний.
15

Считывание данных с панели ППУ (токовая петля)

Re: Считывание данных с панели ППУ (токовая петля)

kjuman wrote:
babay wrote:

Очень древний прибор попался вам. Токовая петля- это передача 1-0 еще до 232 и тем более до 485. Но очень похоже на 232: 8 бит, без паритета, 1 стоп-бит. Приручите, дайте знать.


МАТЧАСТЬ УЧИТЕ токовая петля это аналоговый унифицированный сигнал 4-20 ма.

Проверил свою матчасть

По виду передаваемой информации различаются аналоговая токовая петля и цифровая токовая петля.

https://ru.wikipedia.org/wiki/%D0%A2%D0 … 0%BB%D1%8F

S&M Groups
16

Считывание данных с панели ППУ (токовая петля)

(edited by cynpeccop 28/04/2017 19:44:50)

Re: Считывание данных с панели ППУ (токовая петля)

kjuman wrote:

резистор 100 ом последовательно токовой петли с его концов снимаем напряжение при резисторе 100 ом будет 0-5вольт, питание гальванически развязать и все.

kjuman wrote:

МАТЧАСТЬ УЧИТЕ

Сначала нужно в прибор мониторинга посмотреть, сколько там на землю, иначе 0 -5 может не получится ( хотя, для нас это не важно, в принципе )
И почему последовательно? С каких концов напряжение будет?

Кураж - монтаж
17

Считывание данных с панели ППУ (токовая петля)

(edited by kjuman 13/05/2017 16:14:30)

Re: Считывание данных с панели ППУ (токовая петля)

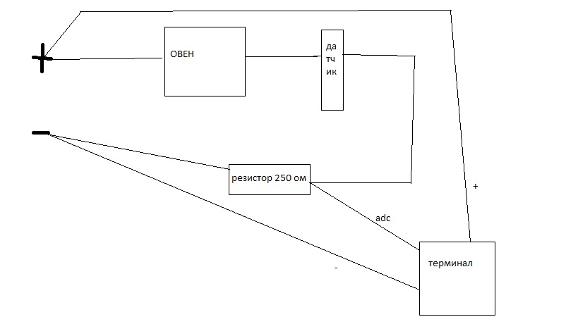
250 ом...

  • Считывание данных с панели ППУ (токовая петля)
любую, даже самую простую задачу - можно сделать не выполнимой, проведя достаточное количество совещаний.
18

Считывание данных с панели ППУ (токовая петля)

Re: Считывание данных с панели ППУ (токовая петля)

для ленивых)

  • Считывание данных с панели ППУ (токовая петля)
любую, даже самую простую задачу - можно сделать не выполнимой, проведя достаточное количество совещаний.
19

Считывание данных с панели ППУ (токовая петля)

Re: Считывание данных с панели ППУ (токовая петля)

babay wrote:
kjuman wrote:
babay wrote:

Очень древний прибор попался вам. Токовая петля- это передача 1-0 еще до 232 и тем более до 485. Но очень похоже на 232: 8 бит, без паритета, 1 стоп-бит. Приручите, дайте знать.


МАТЧАСТЬ УЧИТЕ токовая петля это аналоговый унифицированный сигнал 4-20 ма.

Проверил свою матчасть

По виду передаваемой информации различаются аналоговая токовая петля и цифровая токовая петля.

https://ru.wikipedia.org/wiki/%D0%A2%D0 … 0%BB%D1%8F


цифровой 4-20 это hart называеться очень распростаненный протокол в промышленной автоматизации. не чем не уступает 485ому

любую, даже самую простую задачу - можно сделать не выполнимой, проведя достаточное количество совещаний.
20

Считывание данных с панели ППУ (токовая петля)

Re: Считывание данных с панели ППУ (токовая петля)

Попробуйте этот вариант
https://forum.gurtam.com/viewtopic.php?id=10576

Получает импульсы с чего угодно, используется пока в ТРК.

http://exzotron.ru
sales@exzotron.ru
+7 (804) 333-06-73
21

Считывание данных с панели ППУ (токовая петля)

Re: Считывание данных с панели ППУ (токовая петля)

Здесь не импульсы, здесь передача снимаемой характеристики посредством изменения силы тока в сигнальной цепи. Токовая петля.

Хайруллин Шамиль
ООО "Смарт-сервис"
Самарская область
smrservice.ru